制造业知识分享、信息发布平台-兴盛制造网 Email: 206027815@qq.com

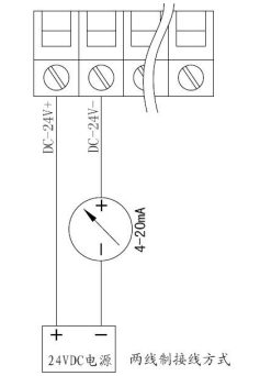
二线制PH变送器实图接线说明

分类: 其他 浏览量: 留言数: 44300

二线制是一种相对于四线系统(两根供电线路、两根通讯线路),将供电线与信号线合二为一,两根线既是电源线又是信号线,实现通讯兼供电。

本文地址: https://www.xsyiq.com/44300.html
网站内容如侵犯了您的权益,请联系我们删除。

标签: 上一篇: 下一篇: