中国作为世界上重要的纺织品服装生产和出口国,虽有着资源和规模的优势,但也普遍存在数字化、自动化程度低、生产管理模式落后等问题。由于纺织品属于劳动密集型产业,用工数量和劳动强度非常之大,这使得生产流程的连续性变得尤为重要。
杭叉智能选择与科尔摩根合作,通过引入AGV小车为传统纺织行业赋能,以自动化、连续化和智能化创新方案打造企业智慧工厂,切实解决了企业存在已久的痛点问题,在降低人工成本的同时,大幅提高了运输效率和经济效益。
精准导航助力高效搬运
由于客户工厂内货架间距较窄,标准堆垛前移式AGV通常无法完成带料转向的运输作业。在不改变货架原始布局的前提下进行物料运送,便成为了引入AGV阶段的首要任务。
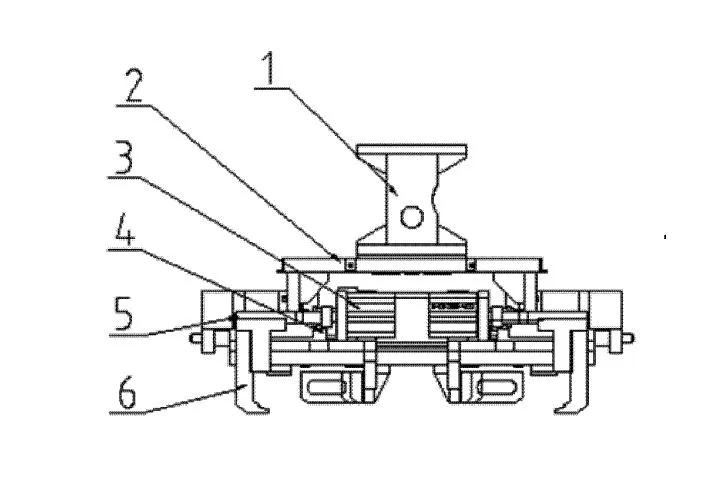
经过对运输路线以及货架间距的现场考量,项目团队决定对AGV进行设计改良。以杭叉智能标准2t堆垛前移式AGV为基础,搭载科尔摩根NDC8的激光导航解决方案,实现高精度作业。凭借其高自由度、高载荷、高举升的优势,辅以高位货架系统、库位管理系统及各接口系统的支持。AGV小车可以自由穿梭于窄通道内,并且可以搬运2t的货物。

设计亮点
亮点1重新设计车体结构
布置全新的激光导航方案,通过改变激光位置,在不影响安全防护性能的情况下将车体长度和宽度进行优化,以此减小最小转弯半径,满足客户窄巷通道运行的需求。

亮点2更改导航激光安装支架的结构形式
安装支架采用框架结构,强度高、不易晃动的特点使得其更利于安装和维修,能够进一步提高AGV运行时的稳定性。

亮点3增加传感器,提高检测容错率
多组传感器的设计使用,可在取放货时的同时检测货物和栈板位置,容错率较高,在货物溢出栈板时也能正常取放,提高AGV的工作效率。
5G连接智慧工厂再提速
在物流搬运场景中,AGV之间的协同无碰撞作业、以及实时的数据交换和其他设备通信都需要通过无线网络来实现,而其中起到决定性因素的便是网络速率的快慢。
为保证各设备间的信息交互速度,同时尽可能地减少网络延时,该项目基于5G Wi-Fi对厂区进行了全方位覆盖和高密度连接。利用5G+PDA、5G+AGV、5G+智慧仓储等关键场景应用以及5G专网的产线数据采集、远程控制,搭配ERP、AMS等管理系统,通信变得更加及时高效,使纺织企业实现了对货架库位信息、设备运行状态等的全面、实时监控。
工序简介
01
布匹从输送线自动传输至料框内,框满后由人工操作PDA对料框进行入库,旋转台将料框分拣至对应的AGV叉取位;
02
PDA扫描叉取位后自动生成任务,系统控制AGV进行出库、空托回运、入库等作业,并实时更新库存信息。
纺织厂项目的成功落地,既是科尔摩根与杭叉智能持续深化合作的重要体现,也是科尔摩根在纺织行业的一次成功突破。科尔摩根坚信,合作伙伴模式是实现各自专业优势的突出路径。未来,科尔摩根也将更加坚定发展决心,不断积聚核心技术,为更多行业提供更加智能高效的物流搬运解决方案。
关于科尔摩根AGV
科尔摩根 (Kollmorgen) AGV是为自动引导车(AGV) 和移动机器人提供车辆自动化系统套件的全球顶级供应商之一,通过50年持续而专注的根植于AGV及移动机器人领域,这些套件已经安装在全球超过40.000辆AGV及移动机器人上。公司于1962年在瑞典创建时称为NDC,于2009年并入科尔摩根 (Kollmorgen)。目前在中国区域设有销售、产品和市场以及技术服务支持团队,2019年起启用了天津工厂,进而可实现为国内客户及合作伙伴提供及时的专业服务。同时位于瑞典的设计和研发中心也不断吸取用户声音,与全球超过80家客户、供应商、创新者相互合作,已成为在运动控制领域中最佳解决方案供应商之一。
本文地址: https://www.xsyiq.com/3794.html
网站内容如侵犯了您的权益,请联系我们删除。